三星要出全新翻盖手机?或者称其为折叠手机
2016-03-25 15:03
三星一直希望使用柔性OLED面板制作可折叠智能手机,为此他们还成立了一个名叫Project Valley的项目组。在此期间,我们时不时地会看到他们所开发的可折叠手机专利。最近,就有一项新的类似专利遭到曝光。
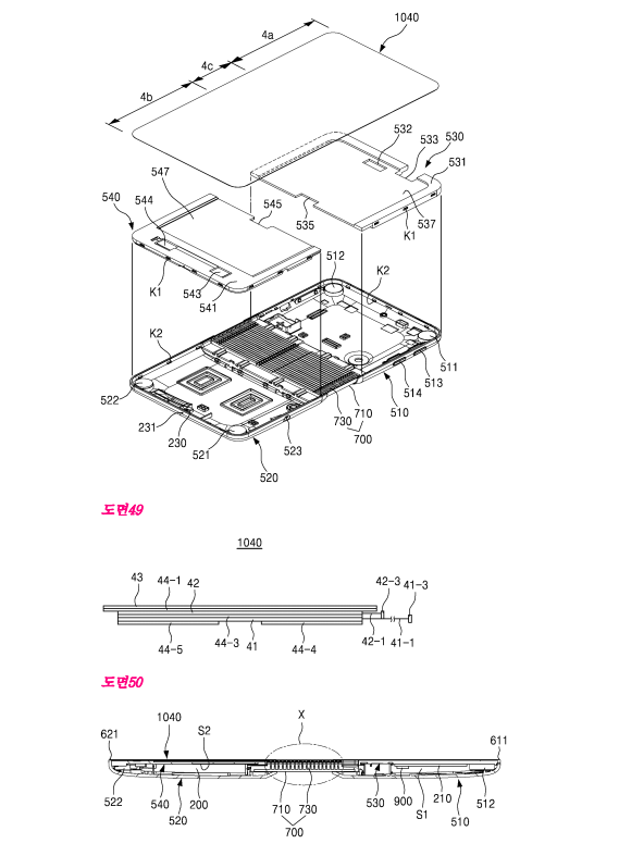
最新曝光的这项专利实际上已经处于相当高级的研发阶段。三星的设计看上去极为复杂,不仅采用了柔性显示面板,还可通过一种巧妙的机械设计让用户将设备对折。这种工程量恐怕也只有三星和苹果这种拥有强大实力和资源的公司才能做到。
除了介绍机械合页的细节之外,专利所展现的手机设计看上去相当完整,我们可以看到熟悉的电源键、音量键和摄像头位置,但却没有Home键。手机上还有两个磁力螺栓,用来在折叠状态下固定手机。
虽然目前还没有确切的消息,但三星的确可能会在今年晚些时候推出一部可折叠智能手机。至于专利当中的设计是否会成为现实,这就很难说了。





相关文章
鐜嬪仴鏋楄瀹跺嵃娓歌墖鏇濆厜 缃戝弸锛氳繖娆$湡鏄传绌烽檺鍒朵簡鎴戜滑鐨勬兂鍍忓姏2018-04-16 16:32
涓夊搴﹀叏鐞冨彲绌挎埓璁惧鍑鸿揣閲忎笂娑94.6%锛岃嫻鏋滅ǔ鈥2019-12-10 17:52
Samsung鏂颁笓鍒╂洕鍏夊叏闈㈠睆娌℃湁鍒樻捣2018-05-13 13:33
鍏ㄥ箙楂橀熻繛鎷岰anon1DX鍗曟満鍞28800鍏2018-04-09 17:32
鍗庝负Mate X棰勮渚涜揣20涓囧彴宸﹀彸2019-06-30 15:50
杞婚噺绾у叆闂ㄦ満锛欶ujifilmX-M1鏃犲弽鐧诲満2018-01-03 12:00
闂厜鐏珶鏈夎繖涔堝鑺辨牱榄呰摑E2璇勬祴2018-05-29 19:33
涓寰幆缁忔祹鐮旂┒闄㈠湪娌у窞鎴愮珛2020-12-28 16:52
2018鏄ヨ妭绗竴鏂版満 榄呰摑E3鑳岄潰璁捐鎹夌溂2019-02-19 05:37
iPhone6Plus鎼滀笉鍒癢iFi 鎵嬫満搴楁病淇ソ 澶х鎬濊矾娓呮櫚涓鎷涙悶瀹2018-05-02 14:31
闃块噷YunOS鍗冲皢鍒版潵 鐩墠宸叉湁鍥戒骇鎵嬫満鏀寔 鏈熷緟鍚楋紵2018-04-29 20:31
闇稿睆浜嗭紒闂嵎缃戝叓鍛ㄥ勾鎰熸仼鍥為娲诲姩鐏儹杩涜涓紒2021-07-22 19:46
360鎽勫儚鏈3C浜戝彴鐢垫睜鐗堝紑鍚鍞 鍒涙柊鈥滀笉鎻掔數鈥2021-03-20 09:54
澶栧獟鎶ラ亾锛歀G姝g爺鍙戞柊娆剧炕鐩栧紡鍙姌鍙犳墜鏈2018-07-06 05:31
- 鎵庡厠浼牸澶绾︿細缁欏瀛愯█浼犺韩鏁 鎵庡厠浼牸瀹堕娆℃洕鍏
2019-12-05 18:53
5799鍏冭捣 涓夋槦GalaxyS9/S9锛嬪媰鑹绾㈢増鍙戝竷 涓夊ぇ濂崇浠h█2018-05-08 17:32
鍗板害閫爄Phone缁堜簬涓婂競 浣嗘灉绮変緷鏃у緢澶辨湜2018-09-22 00:32
鏇寸敓琛岃柂閰珽TC锛氭櫤鑳借柂閰競鍦虹殑棰嗚窇鑰2019-08-20 11:55
榄斿吔浜夐湼锛氬畧鍩庡叧鍗$殑璁惧畾鍗佸垎缁忓吀 閭d箞鎴樺焦涓渶缁忓吀鐨勬槸鍝叧锛焈甯屽皵鐡﹀鏂2019-06-30 14:46
鑴戞礊椋樺嚭澶╅檯鐨勭鐮旈槦浼嶅紑鍙戝嚭3D鎵撳嵃姘磋川妫娴嬪櫒2018-08-05 18:31













